嚴格來說這個塑料骨架溫室大棚設計一開始雖然是我畫的原稿,但在老闆和其他團隊成員插手修改下,最後的成品已和我的原先設計毫不相干,只有基本架構還稍微看得出我設計的一部分,是個徹底失敗的設計。
這間在大陸的X凌建造的溫室大棚還以懸X365這個智慧農業名稱登上當地媒體報導,而其技術主要來自台灣寶X菜園公司老闆的構想。但是否全為老闆一人的獨自發明?我是持保留態度。跟隨多年觀察的結果來說,他有時會把眾人討論時提出的好構想拿去請專利,這技術應該也是這樣產生的?
在說塑料骨架溫室大棚技術之前,先來說說其根源的寶X菜園公司水耕農場溫室技術。以我從事農機開發20多年,走遍台灣超過200間農場的經驗來看,這間農場和一般的水耕農場有相當大的不同。
總結來說就是用科技業的手法搞農業,和以人為本的傳統水耕農場相反,一味地追求單位面積的最高產量,老闆不愧是半導體科技出身的。若只論結果無疑是成功的,在我剛到職公司還只有一棚時,約5000平方米的場地就栽培了近18萬株的蔬菜。第一次進入農場工作時,被滿坑滿谷的蔬菜畫面震撼到。
礙於公司政策不能拍照,沒能留下照片,只能用文字敘述和老闆的專利公報圖片來說。反正公司已倒閉,相關專利已全部失效作廢,加上這個技術仍是缺點多於優點的的東西,說出來也只能提供一笑而已。
海綿播種的技術部分,老闆構思做出的水耕播種機和我之前研發過的簡易水耕播種機幾乎雷同,不同的是我的機器有內建種子槽。老闆和我以前都認識台灣水耕農業的先驅推廣者高德錚博士,會想出類似的機器應該是純屬巧合。
老闆的水耕播種機
我的水耕播種機
接下來是水耕的技術流程;這家公司是先把發芽的海綿移植到一組可以拉開收攏的塑膠製海綿框架。在這一階段先選擇過,把發芽狀態不良的處理掉。
裝在塑膠製海綿框架的菜苗則收攏放在特製的保麗龍育苗盤上,再馴化培養約12星期。在良好的管理下,菜苗大小及健康度會趨近一致。這一階段被稱為健苗處理。
健苗處理完成的菜苗會再經過第二次移植,這一階段再一次把狀態不良的菜苗處理掉。到這一階段約有3到10%左右的菜苗損失,通常約是十字花科的蔬菜損失較少都在5%以內,萵苣類的耗損較大。
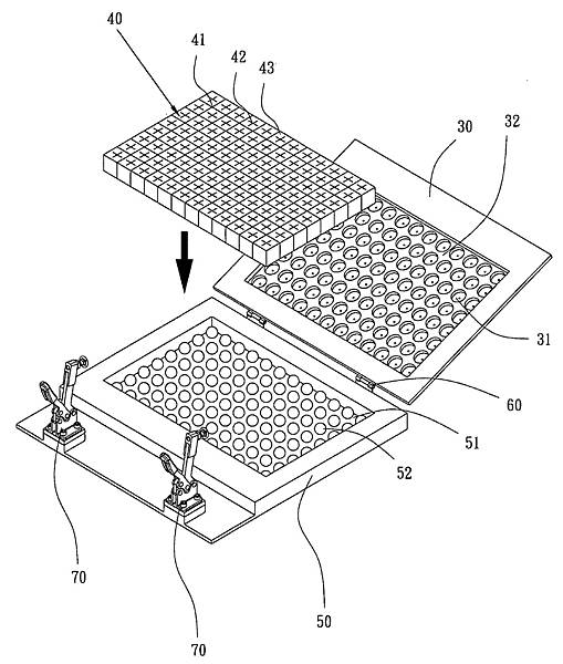
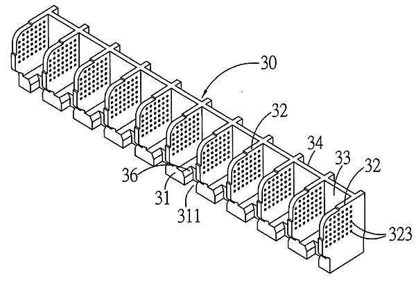
第二次移植是把塑膠製海綿框架從育苗盤拿出,拉開後卡裝在保麗龍的扶架上,然後扶架再卡在底盤上,之後就可以放在水道內直到蔬菜長大。因為是一次處理一整排苗,只需極少人力即可完成大量菜苗移植。約是6人操作2小時,可移植約1萬株苗。
因為扶架限制了蔬菜生長,種出的菜趨向均一化,大小差距不會太大,有利於後續採收包裝作業。
若要說扶架有什麼缺點,那就是透氣性的問題;從專利公報圖片來看,老闆是有想到這個問題,所以才會有側面穿孔的扶架設計。但這種構造開模不易,在農場內我都沒有看到過實品。
以上的技術最大的問題是透氣性的問題,若溫室大棚能配合好還不算糟,若沒有配合好就是災難,實際上公司會倒閉就是毀在這點上;我剛到公司時是冬天,還沒有爆出問題,收成都很順利。等第二年夏天問題就陸續浮現,而老闆改造溫室的結果不僅沒有解決問題,反而使狀況惡化到產量為0無貨可出。
這家公司高產量的秘訣就是完全不考慮人的問題,總之先放張農場發展初期的平面配置圖。
一般農場不管是什麼樣的作業都需要相當的人力來處理,也因此蔬菜栽培區塊間必定留有人員可以進出的通道,就算是乍看之下沒啥通道的農場也會裝置可以挪出通道的機構;這家農場除了最旁邊的通道兼移苗作業區外,就只有後面的入苗通道和前面的採收通道,其餘的全是栽培水道,也因此單位面積產量會比其他農場還高。
因為一棚的高產量非常成功,所以短時間內就增建二棚,接著時序進入夏天問題就出現了:
首先是蟲害問題,蟲害發生點是在水道中央附近。因為沒有通道可以進入,只能將同一水道的栽培盤全部取出處理再放回去。而這波操作又造成2次感染,致使蟲害範圍擴大。
接著是透氣問題,又是在水道中央一些蔬菜因為高溫加上透氣不良,在靠根部附近開始軟爛,加上蟲害問題,幾乎等於整個水道蔬菜報廢。
同樣的問題在一棚不嚴重,在二棚則是接近全滅。追究整個差異原因,在於一、二棚架構上完全不同,唯一相同的只有栽培水道全長是50米這一點。
一棚的溫室高度只有2.5米,同時有裝設內、外遮陰網,加上水道後面的水簾牆剛好面向地形風的方向,夏天時最高溫頂多在28度以下,高溫和透氣的問題不大。
二棚不知為何高達5米,且只有外遮陰網,水道後面的水簾牆正好在地形風的反方向。水道中央是風力達不到的位置,剛好又是溫室尖頂的熱區。夏天時水道前後平均是34度上下,水道中央位置正午時溫度近45度以上,拉上遮陰網溫度也沒有下降多少。
關於這一問題管理的場長有問過我,我是建議在水道上空增加軸流風扇加強空氣流動,但老闆基於省電的理由,採用的方法是在水道中央區域裝設噴霧管降溫;若噴霧量夠大可能多少有點效果,但老闆充分發揮了節儉的精神,全長近200米的噴霧管只裝了一顆抽水泵浦,噴出的霧似有若無,當然是毫無作用。
蟲害的問題也是增建二棚後才出現的,為什麼呢?原本工作人員到溫室的的唯一路徑,是從辦公室那邊經過消毒通道後,再經過包裝室才能進入。在夏天只有一棚時,就算打開垃圾通道清理收菜後的殘根海綿,也因為一棚的溫度低於溫室外,空氣是由內往外流出,多少避免了飛蟲入侵的問題;二棚增建後溫度高出溫室外太多,空氣的流向完全反了過來,蟲害也是在這時發生。
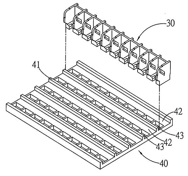
幾次修改失敗後,老闆增建三棚試驗新的溫室技術,在還沒有得出成果前又搞出了四、五棚,整個新的溫室技術算是完全定型。最後就是把這新技術要修改成塑料骨架溫室大棚用,並帶到大陸從新發展。台灣這邊則是放棄給他爛,說難聽點就是惡性倒閉了。
新的溫室技術帶到大陸時,從水耕改成土耕,或應該說是盆耕才對,因為菜是種在土盆內。
新的溫室技術構想是用最少的人力做出最大的產量,也就是除了控制室外,是無人的自動農場;為增加空氣流通老闆把栽培通道改成高架式,同時降低溫室高度。栽培通道離屋頂最高僅剩約1.5米,說是可以增加空氣流通量。然而從實際建好的三到五棚觀察結果,這個設計是失敗的。倒不如說溫室屋頂降低,因為溫室的熱島效應,整個栽培通道吹出的風都是熱的,若不增加澆水次數菜很快就萎了。最大缺點的栽培通道還是50米長沒改,同樣還是在中央位置爆出通風和蟲害問題。
最後關於這一家公司是在我從上一家公司離職後,找到這家水耕農場的工作,職務是蔬菜採收、種植和包裝的作業員。在公司惡性倒閉前轉職為設計工程師的工作。
這家水耕農場在台灣也曾經有相當的名氣,上過各媒體,一些賣場、超市和網紅都有鋪貨銷售。前身是野X工房,後來為寶X菜園公司。
要說公司最後會倒閉的原因,我認為有幾點:
1.規模擴張太快;這一點和我上一家公司雷同,上一家公司野心很大,轉型做有機農業時一口氣向台糖承租了約13公頃土地,做了大規模的土質改良。後續就因為資金及人力難以到位而撐不下去,最後土改完成的地又全部退租。
我剛入這家水耕農場時,農場還只有一棚(占地約5000平方米),產量最大約有每天1萬株(2500包)菜。幾個月後二棚和育苗及移植棚(占地約6000平方米)建造完成,再來不到二年時間三到五棚(總占地約18000平方米)也建好。
問題接著就出現了:
a.作業員增額趕不上農場的擴增,都已經擴增到5個棚了,但現場作業員也只是由原來的20多人增加為50多人,變成作業員要輪流到各棚支援的狀態。然而更致命的是5個棚不是在一起,而是分散在約10公里路程方圓的範圍內,光是交通移動就損失不少時間。
b.新人作業員來不及訓練便直接上場,作業效率比不上老手。以採收蔬菜為例,我這個老手作業2小時可以採收約1.2萬株的菜,同樣的時間新手至少要5人才能做到。
c.公司不知是基於何種考量,擴增農場的同時,居然沒有同步新增包裝場和冷藏庫。變成其他棚採收的菜都要運回1棚這邊的包裝場,從採收到送回包裝場最久曾拖過4小時,這對要求鮮度的蔬菜來說就是很要命的事。更要命的是包裝場太小,人員只能擠進那10多名老手,每天工作到晚上12點成為常態。而包裝時間拖太久也造成蔬菜良率下降,被客戶退貨的次數也增加。
d.產量遠大於需求;5個棚總產量相當驚人,客戶需求卻沒有那麼多,冷藏庫塞滿存貨,甚至有冰存超過7天以上的菜。新鮮度快過期的菜一開始是送人,後來是以約半價賣給員工來處理;後來的因應手法不是拓展客源,而是減少採收量,因為菜不採收就只是繼續長大。然而這是惡性循環,不採收的菜不只會長大還會開花呢,活到這麼大歲數第一次看到整個棚內的菜開滿黃花。這些菜最後只能廢棄處理,廢棄的量還不少,在倒閉前幾乎是每天丟掉約2萬株的菜。
e.最後的致命因素是這個技術應該是未完成狀態,還在持續改良,並沒有經過長期驗證是否可行。會這麼認為的原因是因為1到5棚的溫室構造完全不同,每個棚的狀態都不一樣。以結果來說1棚反而是菜丟最少的,其他棚是越改越爛;在大陸建造的塑料骨架溫室大棚採用的技術基礎卻偏偏是5棚的結構,同樣也是還未經過長期驗證,所以我才會說是失敗的設計。
2.規模擴張太快的另一問題是資金的大量流失;水是抽地下水還好,但土地租金、電費、員工加班費這些固定支出就不得了,光電費每月都是數十萬起跳。再加上退貨及菜損,公司倒閉前幾個月已是入不敷出,處於欠薪的狀態。
公司最後的下場是在所有員工在不知情的狀況下被轉讓給X寶集團,老闆所說X寶集團會概括承受所有債務及還清所有員工欠薪的事並未兌現,多數員工被積欠的數十萬工資拿不到。而老闆在台灣所有的房車資產確已脫產,全家跑到大陸發展。
而老闆到大陸後仍雇用我在台灣設計溫室大棚和種植設備,欠薪也陸續從大陸匯出給付。一年後因為實際要在X凌建造溫室大棚才找我過去支援,但這次支援並沒有拿到全部欠薪,讓我看到了潛在危機,回到台灣過年時就立刻辭職。
雖然在台灣有一段時間找不到工作沒有收入,但總比留在大陸當台勞好。後來聽留在當地的同事說,我離開不到3天當地就因疫情封城,同事也沒能回台過年,直到半年後才解禁。










